
一、产品概述
WFB系列无密封自控自吸泵,是的产品,该产品具有耐温耐压、“一次引流”、“终生自吸”等多种功能。目前生产321、304、 316、316L、A3、PP(增强聚丙烯)等多种材质的系列整机,五种不同造型共一千余种规格。在电子、电力、化工、冶金、医药、食品、电镀、环保、消防、市政、净水、国防军工、纺织印染、采掘选矿、民用建筑等行业中广泛适用,深受用户的好评。
二、独特优点
1、采用“泵用连环式多面离心密封装置”,革除了传统水泵的填料密封、盘根密封、机械密封、彻底制服了“跑、冒、滴、漏”,是替代各种长轴液下泵、潜水泵等的设备。
2、运行过程中密封装置不摩擦,无麿损,使用寿命较同类产品长10倍以上。
3、移植真空泵原理,自吸性能稳定可靠,特别是采用“电动空气控制阀”,实现了“一次引流,终生自吸”。
4、振动小,噪音低,移动灵活,拆卸简便、易于安装,不需地脚固定。
5、具有优越的自控功能,可与高科技领域和高度自动化系统配套使用。
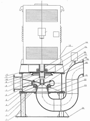
三、结构示意图
1.立柱,2.锁紧并帽,3.工作叶轮,4.泵壳连接座,5.蜗壳,6.泵轴,7.锁紧并帽,8.密封轮盖板,9.密封座,10.密封叶轮,11.泵壳出口法兰,12.支架,13.电机,14.联轴器,15.垫片A,16.垫片B,17.电动空气阀,18.耐磨环,19.泵壳进口法兰,20.泵体,21.锥体,22.泵壳吸口法兰,23.泵壳连接板,24.底板。
四、型号意义
50WFB-AD1
50——泵进口口径(mm)
WFB——无密封自控自吸泵
AD1——性能分类
水泵的法兰采用中华人民共和国国家标准制造。标准代号GB9115.2-88;GB9115.3-88。非金属材质水泵的法兰压力0.6MPa;金属材质水泵的法兰压力1.0MPa。本公司水泵出厂时,进出液口配一只反法兰。
五、WFB自吸泵性能参数表



